中英人寿因保险纠纷再登武汉法院被告席
2024-05-07 20:35:03
来源:
金融界
作者:AI小保
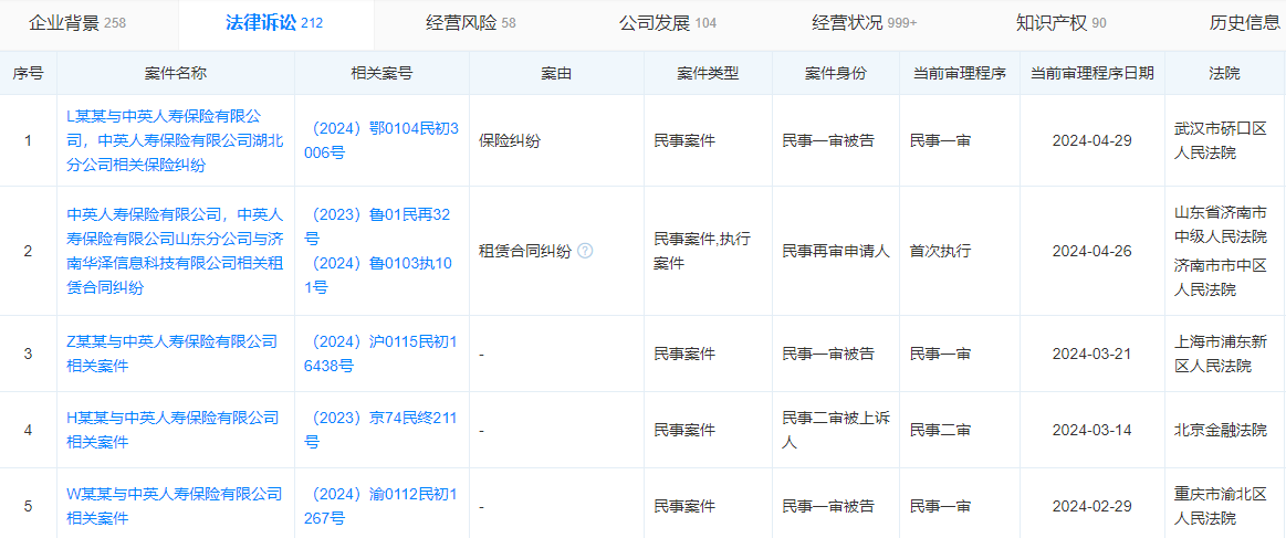
天眼查最新信息显示,中英人寿保险有限公司、中英人寿保险有限公司湖北分公司因保险纠纷于2024年4月29日在湖北省武汉市硚口区人民法院第十七法庭开庭审理【案号(2024)鄂0104民初3006号】。

天眼查还显示,中英人寿2024年以来已有多起被告案件分别在上海市浦东新区人民法院、重庆市渝北区人民法院、山东省乐陵市人民法院、辽宁省沈阳市中级人民法院开庭审理。
中英人寿保险有限公司由中国中粮资本投资有限公司与英国英杰华集团合资组建,于2003年1月1日正式开业,目前注册资本金29.5亿元,法定代表人兼董事长孙彦敏,总经理俞宁。
全部评论
机会情报
- 银行股迎来“黄金买点”?摩根大通预计下半年潜在涨幅高达15%,股息率4.3%成“香饽饽”
- 华润电力光伏组件开标均价提升,产业链涨价传导顺利景气度望修复
- 我国卫星互联网组网速度加快,发射间隔从早期1-2个月显著缩短至近期的3-5天
- 光伏胶膜部分企业上调报价,成本增加叠加供需改善涨价空间望打开
- 广东研究通过政府投资基金支持商业航天发展,助力商业航天快速发展
- 折叠屏手机正逐步从高端市场向主流消费群体渗透
- 创历史季度新高!二季度全球DRAM市场规模环比增长20%
- 重磅!上海加速推进AI+机器人应用,全国人形机器人运动会盛大开幕,机器人板块持续爆发!
- 重磅利好!个人养老金新增三大领取条件,开启多元化养老新时代,银行理财产品收益喜人!
- 重磅突破!我国卫星互联网组网速度创新高,广东打造太空旅游等多领域应用场景,商业航天迎来黄金发展期!
