一天两次登上被告席 人保寿险案件遍及广东、天津、江苏、山东、重庆等地
2024-04-25 17:27:05
来源:
金融界
作者:AI小保
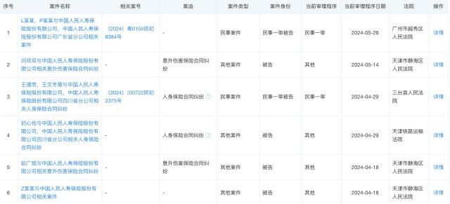
据天眼查最新信息显示,4月29日,中国人民人寿保险股份有限公司(以下简称“人保寿险”)将因人身保险合同纠纷分别登上天津铁路运输法院第四法庭被告席和四川省三台县人民法院被告席【案号(2024)川0722民初2375号】。另外,4月2日人保寿险有一起被告案件在天津市静海区人民法院第十九审判法庭开庭审理;4月8日人保寿险有两起被告案件开庭审理,分别在天津市静海区人民法院第十九、二十审判法庭开庭审理;4月18日,人保寿险有两起被告案件开庭审理,分别在天津市静海区人民法院第十九、二十审判法庭开庭审理;5月14日人保寿险还将因意外伤害保险合同纠纷登上天津市静海区人民法院被告席;5月28日人保寿险还有一起被告案件开庭审理,在广东省广州市越秀区人民法院【案号(2024)粤0104民初8384号】。

2024年1月至发稿时止,人保寿险超30起被告案件,案件遍及广东、天津、江苏、山东、重庆、四川等10省市。从案件案由来看,主要以人身保险、意外伤害、保险纠纷等为主。
公开资料显示,人保寿险成立于2005年,位于北京市,是一家以从事保险业为主的企业。企业注册资本2576110.4669万人民币。目前,该公司法定代表人兼董事长是肖建友。
全部评论
机会情报
- 银行股迎来“黄金买点”?摩根大通预计下半年潜在涨幅高达15%,股息率4.3%成“香饽饽”
- 华润电力光伏组件开标均价提升,产业链涨价传导顺利景气度望修复
- 我国卫星互联网组网速度加快,发射间隔从早期1-2个月显著缩短至近期的3-5天
- 光伏胶膜部分企业上调报价,成本增加叠加供需改善涨价空间望打开
- 广东研究通过政府投资基金支持商业航天发展,助力商业航天快速发展
- 折叠屏手机正逐步从高端市场向主流消费群体渗透
- 创历史季度新高!二季度全球DRAM市场规模环比增长20%
- 重磅!上海加速推进AI+机器人应用,全国人形机器人运动会盛大开幕,机器人板块持续爆发!
- 重磅利好!个人养老金新增三大领取条件,开启多元化养老新时代,银行理财产品收益喜人!
- 重磅突破!我国卫星互联网组网速度创新高,广东打造太空旅游等多领域应用场景,商业航天迎来黄金发展期!
