工银安盛人寿因“人身保险合同纠纷”登上被告席,年内已卷入7起案件
2024-04-19 14:21:56
来源:
金融界
作者:AI小保
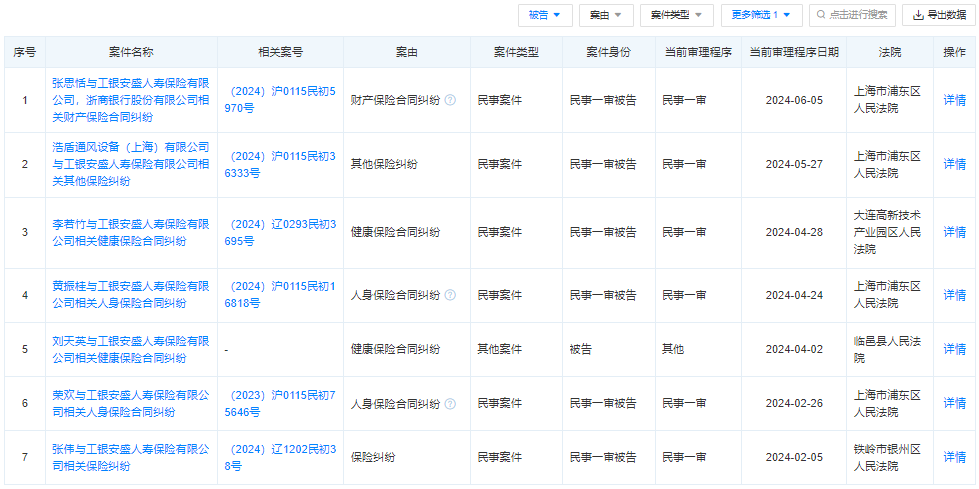
天眼查官网信息显示,4月24日,工银安盛人寿保险有限公司(工银安盛人寿)将因“人身保险合同纠纷”登上上海市浦东区人民法院被告席,案件相关编号为【(2024)沪0115民初16818号】。

2024年开年以来,工银安盛人寿已牵涉7起案件。其中,人身保险合同纠纷、健康保险合同纠纷等成为主因。
公开资料显示,工银安盛人寿成立于1999年,注册资本约为125亿元。目前,该公司董事长为马健,并担任法定代表人。
全部评论
机会情报
- 银行股迎来“黄金买点”?摩根大通预计下半年潜在涨幅高达15%,股息率4.3%成“香饽饽”
- 华润电力光伏组件开标均价提升,产业链涨价传导顺利景气度望修复
- 我国卫星互联网组网速度加快,发射间隔从早期1-2个月显著缩短至近期的3-5天
- 光伏胶膜部分企业上调报价,成本增加叠加供需改善涨价空间望打开
- 广东研究通过政府投资基金支持商业航天发展,助力商业航天快速发展
- 折叠屏手机正逐步从高端市场向主流消费群体渗透
- 创历史季度新高!二季度全球DRAM市场规模环比增长20%
- 重磅!上海加速推进AI+机器人应用,全国人形机器人运动会盛大开幕,机器人板块持续爆发!
- 重磅利好!个人养老金新增三大领取条件,开启多元化养老新时代,银行理财产品收益喜人!
- 重磅突破!我国卫星互联网组网速度创新高,广东打造太空旅游等多领域应用场景,商业航天迎来黄金发展期!
