复星联合健康保险合同纠纷不断,一天一法院16场被告官司,已被法院列为被执行人
2024-04-16 12:43:52
来源:
金融界
作者:AI小保
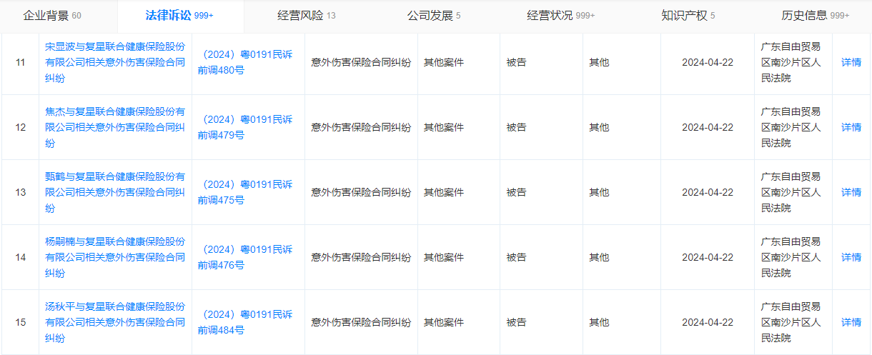
据天眼查最新信息显示,4月22日,复星联合健康保险股份有限公司(以下简称“复星联合健康保险”)在广东自由贸易区南沙片区人民法院开庭审理16场被告案件开庭,案号分别为(2024)粤0191民诉前调2671号、(2024)粤0191民诉前调472号、(2024)粤0191民诉前调473号、(2024)粤0191民诉前调474号、(2024)粤0191民诉前调475号、(2024)粤0191民诉前调476号、(2024)粤0191民诉前调477号、(2024)粤0191民诉前调478号、(2024)粤0191民诉前调479号、(2024)粤0191民诉前调480号、(2024)粤0191民诉前调481号、(2024)粤0191民诉前调482号、(2024)粤0191民诉前调483号、(2024)粤0191民诉前调484号、(2024)粤0191民诉前调485号、(2024)粤0191民诉前调486号,案由均为意外伤害保险合同纠纷。

另据天眼查显示,2024年1月至发稿时止,复星联合健康保险已经有过百起被告案件,主要以保险合同纠纷为主,案件遍及上海、天津、重庆、广东、山东、江苏、辽宁、湖北、陕西等地。其中,1月19日,复星联合健康保险被广东省高州市人民法院列为被执行人【(2024)粤0981执309号】,执行标的3798元。

公开资料显示,复星联合健康保险成立于2017年1月23日,注册资本人民币5亿元,注册地广州市南沙区海滨路171号南沙金融大厦8楼811室,法定代表人曾明光,公司总裁兼首席投资官赖晓辉。
全部评论
机会情报
- 银行股迎来“黄金买点”?摩根大通预计下半年潜在涨幅高达15%,股息率4.3%成“香饽饽”
- 华润电力光伏组件开标均价提升,产业链涨价传导顺利景气度望修复
- 我国卫星互联网组网速度加快,发射间隔从早期1-2个月显著缩短至近期的3-5天
- 光伏胶膜部分企业上调报价,成本增加叠加供需改善涨价空间望打开
- 广东研究通过政府投资基金支持商业航天发展,助力商业航天快速发展
- 折叠屏手机正逐步从高端市场向主流消费群体渗透
- 创历史季度新高!二季度全球DRAM市场规模环比增长20%
- 重磅!上海加速推进AI+机器人应用,全国人形机器人运动会盛大开幕,机器人板块持续爆发!
- 重磅利好!个人养老金新增三大领取条件,开启多元化养老新时代,银行理财产品收益喜人!
- 重磅突破!我国卫星互联网组网速度创新高,广东打造太空旅游等多领域应用场景,商业航天迎来黄金发展期!
