三天四场官司,新华保险保险纠纷不断,被法院列为被执行人
2024-04-10 16:29:30
来源:
金融界
作者:AI小保
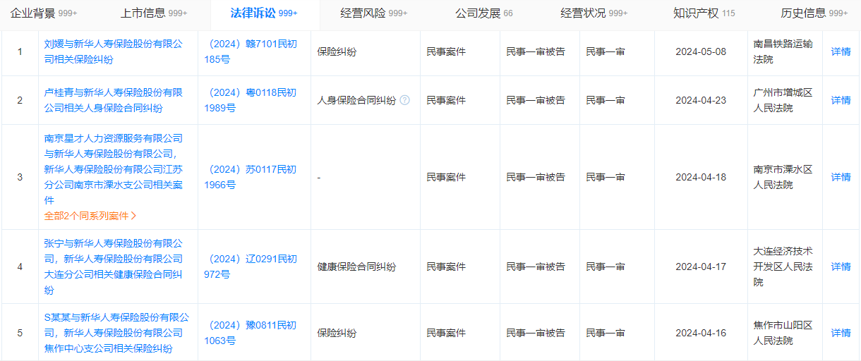
据天眼查最新信息显示,4月15日,新华人寿保险股份有限公司(以下简称“新华保险”)因保险纠纷和保险合同纠纷案件分别在宁波市海曙区人民法院【案号(2024)浙0203民初2585号】、海口市美兰区人民法院【案号(2024)琼0108民初1460号】开庭审理。天眼查还显示,4月16日、4月17日,新华保险在焦作市山阳区人民法院【案号(2024)豫0811民初1063号】、大连经济技术开发区人民法院【案号(2024)辽0291民初972号】因为保险纠纷、保险合同纠纷开庭审理。

据天眼查统计,截止至发稿,新华保险被告案件接近50起,案件遍及上海、广东、山东、河北、河南、江苏、湖北、吉林、陕西等地。其中一起案件被太原市迎泽区人民法院列为被执行人【案号(2024)晋0106执433号】,执行标的共计24万元(新华保险12万、新华保险太原中心支公司12万)。(被执行人是指法院判决后拒不履行的败诉方)

公开资料显示,新华保险成立于1996年9月,注册地址为北京市延庆区湖南东路16号(中关村延庆园),法定代表人兼董事长杨玉成,总裁张泓。
全部评论
机会情报
- 银行股迎来“黄金买点”?摩根大通预计下半年潜在涨幅高达15%,股息率4.3%成“香饽饽”
- 华润电力光伏组件开标均价提升,产业链涨价传导顺利景气度望修复
- 我国卫星互联网组网速度加快,发射间隔从早期1-2个月显著缩短至近期的3-5天
- 光伏胶膜部分企业上调报价,成本增加叠加供需改善涨价空间望打开
- 广东研究通过政府投资基金支持商业航天发展,助力商业航天快速发展
- 折叠屏手机正逐步从高端市场向主流消费群体渗透
- 创历史季度新高!二季度全球DRAM市场规模环比增长20%
- 重磅!上海加速推进AI+机器人应用,全国人形机器人运动会盛大开幕,机器人板块持续爆发!
- 重磅利好!个人养老金新增三大领取条件,开启多元化养老新时代,银行理财产品收益喜人!
- 重磅突破!我国卫星互联网组网速度创新高,广东打造太空旅游等多领域应用场景,商业航天迎来黄金发展期!
