欠款1.3万!国任保险被平安财险告上法庭,江浙沪等地已发生多起被告案件
2024-04-02 09:10:37
来源:
金融界
作者:AI小保
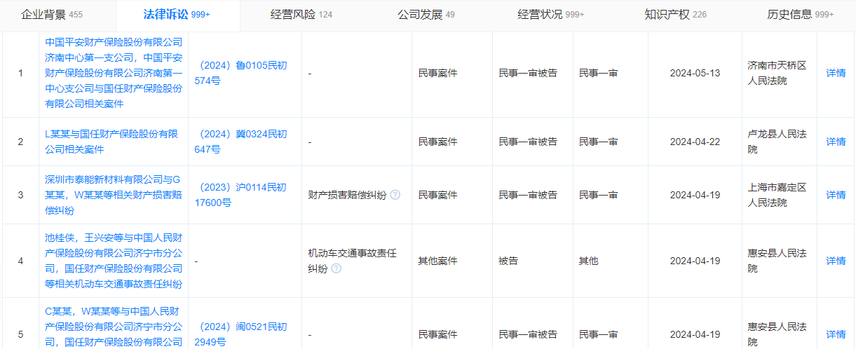
天眼查最新信息显示,被诉方L某某、济南文宝汽车服务有限公司、国任财产保险股份有限公司因13300元理赔款被中国平安财产保险股份有限公司济南第一中心支公司告上法庭,5月13日在济南市天桥区人民法院北园第一审判庭开庭审理【案号(2024)鲁0105民初574号】。至此,2024年以来,国任保险已发生70多起被告案件,案由主要为机动车交通事故责任纠纷案件,案件遍及江苏、浙江、上海、广东、河北、山东、贵州、辽宁、湖北、陕西等地。

国任财产保险股份有限公司 (曾用名:信达财产保险股份有限公司) ,成立于2009年,大股东为深圳市投资控股有限公司,位于广东省深圳市,是一家以从事保险业为主的企业。法定代表人兼董事长房永斌,总裁邓可。
全部评论
机会情报
- 银行股迎来“黄金买点”?摩根大通预计下半年潜在涨幅高达15%,股息率4.3%成“香饽饽”
- 华润电力光伏组件开标均价提升,产业链涨价传导顺利景气度望修复
- 我国卫星互联网组网速度加快,发射间隔从早期1-2个月显著缩短至近期的3-5天
- 光伏胶膜部分企业上调报价,成本增加叠加供需改善涨价空间望打开
- 广东研究通过政府投资基金支持商业航天发展,助力商业航天快速发展
- 折叠屏手机正逐步从高端市场向主流消费群体渗透
- 创历史季度新高!二季度全球DRAM市场规模环比增长20%
- 重磅!上海加速推进AI+机器人应用,全国人形机器人运动会盛大开幕,机器人板块持续爆发!
- 重磅利好!个人养老金新增三大领取条件,开启多元化养老新时代,银行理财产品收益喜人!
- 重磅突破!我国卫星互联网组网速度创新高,广东打造太空旅游等多领域应用场景,商业航天迎来黄金发展期!
